一、医院地址
四川省广安市广安区滨河路四段1号

二、门急诊时间
门 诊:上午8:00-12:00;下午1:30-5:00
急 诊:24小时应诊,全年无休
急 诊:24小时应诊,全年无休
三、挂号方式及时间

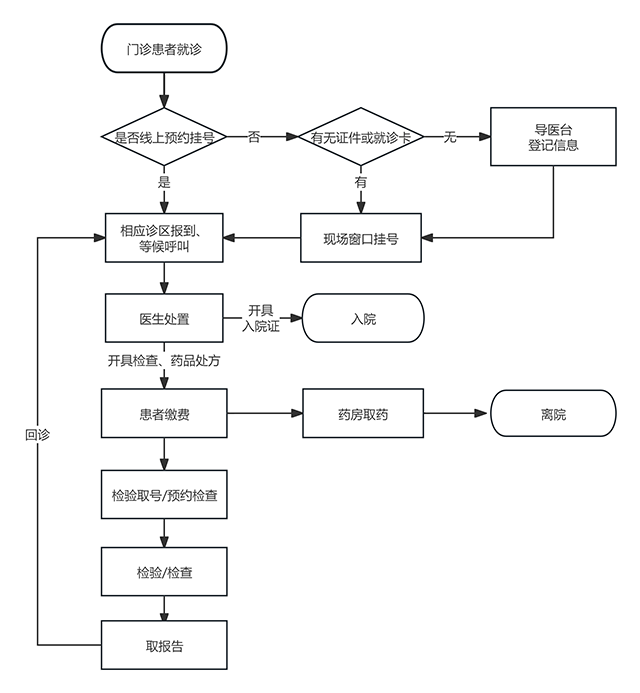
四、门诊就诊流程

五、具体细节
(一)关于就诊卡办理
1、手机端申领电子就诊卡

搜索关注“广安市人民医院”微信公众号→点击“智慧医院”或“互联网医院”→绑定“就诊人”(填写身份信息)→生成电子就诊卡
(支付宝小程序、互联网医院小程序,可同流程搜索“广安市人民医院”后绑定就诊人)
2、窗口申领实体就诊卡
凭有效身份证件,到我院收费窗口申领实体就诊卡
(二)关于挂号
1、为减少排队及候诊时间,请优先选择预约挂号方式。
2、看不同的专科,需分别挂号。每次挂号当日当诊有效,在同科室看检验、检查报告三日内可免费复诊,如有需要请到导诊台咨询。
3、预约成功后若不就诊,请至少提前一天取消预约挂号,过时未退号将无法在手机上退号。
4、就诊科室年龄限制:精神卫生门诊及精神睡眠门诊不对13岁以下人群开放,13-18岁青少年就诊需有监护人陪同;我院神经内科、心血管内科、消化内科以及呼吸与危重症医学科门诊不对14岁以下儿童开放;儿科门诊不对14岁及以上人群开放;儿保门诊不对18岁及以上人群开放。
(三)关于就诊
1、来院就诊,请注意防范医托诈骗。
2、按照国家规定要求,我院实行实名制就诊制度,若就诊人员与就诊信息不符,医生有权拒绝看诊。
3、挂号成功后,无需取号,请于就诊时段前30分钟到达相应诊区报到候诊。若超过就诊时间段报到,系统自动判定为迟到,请务必准时报到。
4、到达诊区,可持身份证、就诊卡、电子就诊卡、挂号指引单、电子医保码、手动输入门诊号或身份证号码等方式进行报到(互联网医院挂号患者在医院1km内,可在小程序内线上签到)。
5、报到成功后,请留意医生呼叫,有序就诊(微信及互联网医院小程序内,可实时查看候诊排队信息)。
6、推荐使用我院“互联网医院”小程序,可提前开单、复诊续方、结果问诊。
(四)关于缴费
1、为节省时间,建议首选我院官方微信、支付宝小程序内缴费、指引单扫码缴费、医保在线结算(仅限本地非特殊门诊医保患者)。
2、人工收费窗口缴费(特殊门诊及外地医保需到人工窗口办理)。
(五)关于取药/检验/检查
1、取药:医生开单后,请按照缴费指引单或根据医院小程序内“缴费订单中已支付详情界面”提示地点,到门诊药房相应窗口取药(中药房位于4楼中医科门诊旁,西药房位于门诊大厅1楼)。
2、检验/检查:医生开单后,请根据检验/检查指引单提示,到相应地点进行检验、预约及进行检查。
六、咨询及投诉电话
(一)咨询电话:
一站式服务中心(工作时间):0826-2600242
医保监管科(工作时间):0826-2600128
警务室:0826-2600110
医院行政总值班:0826-2222448
(二)投诉电话:0826-2600029
七、来院公共交通
公交车:1路、5路、6路、10路、101路、K102路均可到达